ТЕХНОЛОГИЧЕСКАЯ КАРТА
Специализированные работы (сантехника, электрика, вентиляция, сварка)

Технологическая карта: Дуговая механизированная сварка порошковой проволокой арматурных выпусков в инвентарных формах

Настоящая технологическая карта регламентирует процессы механизированной дуговой сварки порошковой проволокой в инвентарных формах для горизонтальных и вертикальных соединений арматурных выпусков. Документ устанавливает инженерные требования к подготовке, сборке, режимам сварки и контролю качества узлов сопряжения сборных железобетонных конструкций.
6 sections 18 figures

Материалы

  • Газозащитная/самозащитная порошковая проволока для механизированной сварки (Ø 2,6–3,0 мм, предел текучести наплавленного металла ≥ 500 МПа)
  • Сварочные электроды с основным покрытием (тип E7018 / Э50А, Ø 4,0 мм)
  • Термостойкий волокнистый уплотнительный шнур (рабочая температура до 1000 °C)
  • Графитовые или медные инвентарные формы (соответствующие диаметрам 16-40 мм)
  • Термоиндикаторные карандаши (для контроля температуры 200 °C, 250 °C, 600 °C)
  • Технический кислород и пропан-бутановая смесь для газопламенной обработки

Оборудование

  • Сварочный полуавтомат промышленного класса с механизмом подачи проволоки (ток до 500 А)
  • Сварочный выпрямитель (источник постоянного тока с падающей/жесткой ВАХ, 500 А)
  • Портативная сушильная электропечь для прокалки сварочных материалов (нагрев до 400 °C)
  • Комплект оборудования для газовой резки и нагрева (резаки, газовые горелки, редукторы, баллоны)
  • Ультразвуковой дефектоскоп с наклонными ПЭП для контроля арматурных стыков
  • Быстроразъемные струбцины и винтовые зажимы для фиксации форм
  • Углошлифовальная машина (УШМ) с абразивными кругами
1

1. Область применения и общие организационные требования

Данная технология применяется для устройства жестких узлов сопряжения (ригель-колонна, колонна-колонна) в многоэтажных каркасных зданиях из сборного железобетона. Прочность бетона стыкуемых элементов должна соответствовать проектным классам (C20/25 – C40/50 по международной классификации). Технология рассчитана на сварку одиночных и спаренных выпусков арматуры диаметром от 16 до 40 мм, с пределом текучести 400-500 МПа (соответствует классам B500B / Grade 60 или стали 35ГС/25Г2С).

К руководству сварочными работами допускаются инженеры со специализированным образованием в области сварочного производства, прошедшие аттестацию согласно требованиям ISO 14731 или аналогичных стандартов. Непосредственное выполнение соединений поручается сварщикам, имеющим действующие квалификационные удостоверения на право выполнения механизированной сварки под флюсом или порошковой проволокой.

До начала работ монтажный горизонт должен быть укомплектован поверенным оборудованием. Рабочее место сварщика должно быть надежно защищено от атмосферных осадков и ветровой нагрузки. При работе на высоте более 1,3 м обязательно использование инвентарных подмостей с настилом из негорючих материалов и применение страховочных систем.

Рис. 1 — Геометрические параметры и конфигурация профиля арматурных стержней периодического профиля
Рис. 1 — Геометрические параметры и конфигурация профиля арматурных стержней периодического профиля
1Верхний сегмент арматурного стержня периодического профиля с поперечными ребрами для улучшения сцепления с бетоном
2Нижний сегмент арматурного стержня периодического профиля, иллюстрирующий альтернативный рисунок или ориентацию ребер
3Шаг поперечных ребер, обозначенный в оригинале как l1, представляющий расстояние между соседними ребрами
4Угол наклона поперечных ребер относительно продольной оси с левой стороны, обозначенный как alpha 2 (α2)
5Угол наклона поперечных ребер относительно продольной оси с правой стороны, обозначенный как alpha 1 (α1)
6Номинальный диаметр (d_H) верхнего арматурного стержня, определяющий габаритный размер поперечного сечения
7Номинальный диаметр (d_H) нижнего арматурного стержня, соответствующий верхнему стержню для обеспечения конструктивной однородности
8Угол наклона поперечных ребер относительно продольной оси для нижнего сегмента стержня, обозначенный как alpha 1 (α1)
  1. Комплектация участка квалифицированным персоналом и поверенным оборудованием.
  2. Установка ограждений и укрытий монтажной зоны для защиты сварочной ванны от ветра и осадков.
  3. Обустройство безопасных рабочих площадок на высоте с применением негорючих материалов.
2

2. Подготовка и центровка арматурных выпусков

Геометрические параметры и взаимное расположение арматурных стержней должны строго соответствовать рабочим чертежам. Допустимая несоосность для арматуры диаметром 16-28 мм составляет не более 15% от номинального диаметра, а для диаметров 32-40 мм — не более 10%. Перелом осей стыкуемых стержней не должен превышать 3°. Минимальная длина чистого выпуска из тела бетона должна составлять 150 мм.

Доводку стержней до соосного положения осуществляют путем термической правки. Нагрев производят газовой горелкой до температуры 600-800 °C (визуально — до темно-вишневого цвета). Во избежание термического повреждения бетона и потери его прочностных характеристик (деструкции цементного камня), зона нагрева должна располагаться на расстоянии не ближе 70 мм от торца бетонного элемента.

Торцы арматуры подготавливаются исключительно методом кислородной резки; обрезка электрической дугой категорически запрещена. Для горизонтальных одиночных стыков формируется фаска под углом 10-15° с зазором 12-20 мм. Для спаренных горизонтальных стержней угол составляет 12-15° (зазор 12-18 мм). Вертикальные выпуски требуют фаски в 40-50°. Зона сварки очищается металлическими щетками до металлического блеска на длину не менее 10 мм от торцов, следы влаги удаляются пламенем горелки.

Рис. 1 — Геометрические параметры и элементы профиля арматурного стержня периодического профиля в зоне поперечного пересечения
Рис. 2 — Геометрические параметры и элементы профиля арматурного стержня периодического профиля в зоне поперечного пересечения
1Наружный диаметр (dH) арматурного стержня периодического профиля, измеряемый по крайним кромкам поперечных ребер
2Размер зазора (z), определяющий поперечное расстояние от продольной оси до начала профиля поперечного ребра
3Диаметр (l1) пересекающейся гладкой поперечной проволоки, служащей ортогональной конструктивной связью или элементом сетки
4Угол наклона (β1) между осью поперечного ребра и горизонтальной поперечной проволокой
5Угол наклона (α1) между осью поперечного ребра и главной продольной осью арматурного стержня
6Продольное ребро арматурного стержня, образующееся в виде непрерывного выступа в процессе горячей прокатки
7Поперечное ребро арматурного стержня с наклонным профилем, предназначенное для механической анкеровки и предотвращения проскальзывания в бетоне
  1. Визуальный и инструментальный контроль соосности и длины арматурных выпусков.
  2. Термическая правка стержней (нагрев до 600-800 °C) с соблюдением безопасного расстояния от бетона.
  3. Кислородная резка торцов для формирования нормативных углов раскрытия кромок.
  4. Механическая зачистка кромок и прилегающей зоны (минимум 10 мм) до чистого металла.
3

3. Установка инвентарных формующих элементов

Для удержания расплавленного металла сварочной ванны и формирования геометрии шва применяются разъемные инвентарные формы, изготавливаемые из графита или меди. Форма состоит из двух симметричных половин с вертикальной плоскостью разъема, соответствующих диаметру свариваемой арматуры. Форма устанавливается строго симметрично относительно оси межторцового зазора.

Критически важным этапом является герметизация зазоров между арматурным стержнем и стенками формы для предотвращения вытекания жидкого металла и шлака, что может привести к образованию пустот и непроваров. Уплотнение выполняется термостойким волокнистым шнуром на расстоянии 15-20 мм от торцов стержней. Материал уплотнителя должен быть химически нейтральным и не выделять газов при контакте с расплавом.

Фиксация полуформ осуществляется с помощью быстроразъемных струбцин, винтовых зажимов или монтажных скоб. Усилие зажатия должно быть достаточным для предотвращения проскальзывания формы под воздействием массы сварочной ванны и температурных деформаций, но не вызывать растрескивания графитовых элементов. Допускается применение фиксирующих клиньев.

Рис. 1 — Соединение арматурных стержней, выполненное термитной сваркой в сборной графитовой форме
Рис. 3 — Соединение арматурных стержней, выполненное термитной сваркой в сборной графитовой форме
1Подготовленные торцы арматурных стержней, отцентрированные для сварки
2Вертикальный литник или литниковая система для заливки расплавленного экзотермического состава
3Верхняя часть разъемной графитовой формы или тигля, в котором протекает реакция сварки
4Нижняя часть разъемной графитовой формы, фиксирующая арматурные стержни в рабочем положении
5Затвердевший наплавленный металл, образующий сплавленное соединение между двумя арматурными стержнями
6Шлак или материал прибыли, оставшийся в литнике после экзотермической реакции и кристаллизации
  1. Очистка внутренних поверхностей инвентарных форм от шлака и брызг предыдущих циклов.
  2. Симметричная установка полуформ на подготовленный стык.
  3. Герметизация зазоров термостойким уплотнительным шнуром в зоне 15-20 мм от торцов.
  4. Жесткая фиксация формы струбцинами с проверкой на отсутствие люфта.
4

4. Сварочные материалы и параметры режимов сварки

В качестве присадочного материала используется самозащитная или газозащитная порошковая проволока диаметром 2,6–3,0 мм, предназначенная для механизированной сварки. Для заварки дефектов и постановки прихваток применяются покрытые электроды с основным покрытием (тип E7018 по AWS или Э50А), диаметром 4,0 мм. Повторная термообработка (прокалка) порошковой проволоки не допускается из-за риска разрушения порошкового сердечника.

Перед использованием материалы проходят обязательную прокалку: порошковую проволоку выдерживают при 160-180 °C в течение 1,5-2,5 часа, электроды — при 350-400 °C в течение 1-2 часов. Сварочные материалы выдаются на рабочее место в объемах, не превышающих потребность одной смены, и хранятся в защищенных от влаги термопеналах.

Процесс осуществляется на постоянном токе обратной полярности. Сварочные параметры строго регламентированы: для диаметров 16-25 мм рабочий ток составляет 280-300 А при напряжении на дуге 24-26 В; для диаметров 36-40 мм ток увеличивают до 350-410 А при напряжении 28-34 В. Скорость подачи проволоки настраивается в диапазоне 140-250 м/ч. Длина вылета электродной проволоки должна поддерживаться в пределах 30-80 мм в зависимости от глубины разделки.

Рис. 1 — Термитная сварка арматурных стержней, иллюстрирующая сборку формы и готовый сварной шов
Рис. 4 — Термитная сварка арматурных стержней, иллюстрирующая сборку формы и готовый сварной шов
1Свариваемый арматурный стержень с периодическим профилем поверхности
2Межторцовый зазор между арматурными стержнями, обеспечивающий затекание и сплавление расплавленного металла шва
3Сварочная форма (обычно керамическая или графитовая), охватывающая зону стыка для удержания расплавленного металла
4Полость формы или литник, где происходит термитная реакция и направляется расплавленный металл
5Затвердевший металл шва (литая сталь), образующий несущее соединение между стержнями
6Затвердевший шлак — побочный продукт термитной реакции, всплывающий на поверхность сварочной ванны
  1. Прокалка сварочных материалов в электропечах согласно температурно-временным графикам.
  2. Настройка источника питания на постоянный ток обратной полярности.
  3. Установка параметров силы тока (280-410 А) и напряжения (24-34 В) в зависимости от диаметра арматуры.
  4. Регулировка механизма подачи для обеспечения стабильного вылета проволоки (30-80 мм).
5

5. Технология выполнения сварочных процессов

Возбуждение сварочной дуги производится исключительно касанием проволоки торца арматурного выпуска. Категорически запрещается зажигать дугу на элементах инвентарной формы во избежание их эрозии и загрязнения шва. При сварке горизонтальных стыков вначале проплавляется нижняя часть одного торца с поперечными колебаниями, затем дуга переводится на второй стержень. После формирования единой шлаковой и металлической ванны пространство заполняется быстрыми перемещениями дуги по краям ванны.

При вертикальных стыках дуга зажигается на торце нижнего выпуска. После образования ванны жидкого металла заполнение разделки происходит чередованием колебательных движений в районе скоса верхнего стержня с круговыми движениями по периметру формы. Проволока должна подаваться перпендикулярно поверхности расплава для минимизации разбрызгивания.

При отрицательных температурах окружающей среды требуются корректировки: на каждые 3 °C снижения температуры ниже нуля сварочный ток увеличивается на 1%. Обязателен предварительный подогрев стыка до 200-250 °C на длине 90-150 мм (контроль термоиндикаторными карандашами). Сварка при температурах ниже -30 °C запрещена. В конце процесса сварки, чтобы избежать образования усадочной раковины, делают 2-3 паузы по 3-4 секунды, выводя дугу к краям ванны. Снятие формы производится легким простукиванием не ранее чем через 5-10 минут после кристаллизации шлака.

Рис. 1 — Методы стыковки арматурных стержней: механическое соединение и муфтовое соединение с омоноличиванием/инъецированием
Рис. 5 — Методы стыковки арматурных стержней: механическое соединение и муфтовое соединение с омоноличиванием/инъецированием
1Механический стык или место резьбового соединения двух арматурных стержней
2Угловая разделка кромок или зазор между арматурными стержнями
3Форма, муфта или ограждающая оболочка, используемая для удержания соединительного материала
4Уплотнение или прокладка в основании формы для предотвращения вытекания связующего материала
5Связующий материал, такой как инъекционный раствор или металл шва, заполняющий пространство между торцами арматуры
6Верхний уровень или поверхность связующего материала внутри формы
  1. Подогрев стыка до 200-250 °C (при работе в условиях пониженных температур).
  2. Возбуждение дуги на теле арматуры и формирование первичной сварочной ванны.
  3. Заполнение плавильного пространства с заданными траекториями колебания электрода (зигзаг, круг).
  4. Выполнение 2-3 пауз в конце сварки для предотвращения усадочных раковин.
  5. Естественное остывание в течение 5-10 минут, демонтаж формы и зачистка от шлака.
6

6. Контроль качества и критерии приемки соединений

Система контроля качества включает входной, операционный и приемочный этапы. Входной контроль проверяет сертификаты материалов, исправность выпрямителей и точность сборки (зазоры, соосность). Операционный контроль, выполняемый не реже двух раз в смену, включает визуальную оценку геометрии шва, отсутствия подрезов и контроль соблюдения температурных режимов сварки.

Окончательная приемка основывается на результатах визуально-измерительного, ультразвукового и механического контроля. Поверхностные дефекты жестко лимитированы: допускается не более 5 наружных пор или шлаковых включений на один стык, при этом максимальный диаметр отдельного дефекта не должен превышать 2,0 мм. Локальные поверхностные дефекты устраняются выборкой абразивным инструментом с последующей заваркой после подогрева зоны до 200-250 °C.

Инструментальный контроль включает ультразвуковую дефектоскопию 10% от общего объема сваренных одиночных стыков. Механические испытания на статическое растяжение проводятся на 3-х контрольных образцах от каждой партии. Для арматуры класса 500 МПа среднее арифметическое значение предела прочности должно быть не менее 586 МПа, а наименьшее допустимое значение в выборке — не ниже 500 МПа. Стыки с недопустимыми внутренними дефектами подлежат вырезке и замене через промежуточную вставку (длиной не менее 80 мм) с последующим 100% УЗК контролем новых швов.

Рис. 1 — Стыковые и нахлесточные соединения арматурных стержней, выполненные контактной точечной сваркой
Рис. 6 — Стыковые и нахлесточные соединения арматурных стержней, выполненные контактной точечной сваркой
1Арматурный стержень, основной несущий элемент, работающий на растяжение или сжатие
2Сварная точка (или шов), соединяющая два арматурных стержня встык, определяющая длину шва (l)
3Арматурный стержень, второстепенный несущий элемент, работающий на растяжение или сжатие
4Глубина проплавления, указывающая на степень сплавления с основным металлом
5Точечная сварка для нахлесточного соединения, соединяющая два параллельных арматурных стержня, определяющая длину шва (l)
6Глубина проплавления в нахлесточном соединении, указывающая на степень сплавления в параллельных стержнях
7Номинальный диаметр арматурного стержня (d_H), указывающий размер арматуры, используемой в соединении
  1. Визуально-измерительный контроль 100% сварных соединений после очистки от шлака.
  2. Ультразвуковая дефектоскопия 10% одиночных стыков в партии.
  3. Отбор 3-х образцов-свидетелей для испытаний на статическое растяжение в лаборатории.
  4. Локальный ремонт поверхностных дефектов (до 2,0 мм) или полная вырезка бракованных узлов.
  5. Оформление исполнительной документации и постановка личного клейма сварщика.
Рис. 1 — Деталь взаимодействия механической муфты с арматурным стержнем периодического профиля с указанием основных геометрических параметров
Рис. 7 — Деталь взаимодействия механической муфты с арматурным стержнем периодического профиля с указанием основных геометрических параметров
1Арматурный стержень периодического профиля с поперечными ребрами, обеспечивающими прочность сцепления с бетоном
2Элемент механического стыкового соединения или зажимной клин, взаимодействующий с ребрами арматуры
3Высота ребра (h1) с одной стороны арматурного стержня периодического профиля
4Высота ребра (h2) с противоположной стороны арматурного стержня периодического профиля
5Длина зоны взаимодействия (l) элемента механической муфты со стержнем
6Номинальный наружный диаметр (d_H) арматурного стержня с учетом ребер
Рис. 1 — График трудозатрат и расписания горизонтальной сварки выпусков арматуры диаметром 20 мм, 25 мм и 28 мм.
Рис. 8 — График трудозатрат и расписания горизонтальной сварки выпусков арматуры диаметром 20 мм, 25 мм и 28 мм.
1Наименование процесса: Столбец, детализирующий конкретные работы, необходимые для сварки арматурных выпусков.
2Подготовка выпусков арматуры к сварке: Работа для стержней диаметром 20 мм, измеряется на один стык.
3Сварка выпусков арматуры: Работа для стержней диаметром 20 мм, измеряется на один стык.
4Заключительные работы после сварки: Работа для стержней диаметром 20 мм, измеряется на один стык.
5Заголовок раздела: Горизонтальная однопроходная сварка выпусков диаметром 25 мм.
6Подготовка выпусков арматуры к сварке: Работа для стержней диаметром 25 мм, измеряется на один стык.
7Сварка выпусков арматуры: Работа для стержней диаметром 25 мм, измеряется на один стык.
8Заключительные работы после сварки: Работа для стержней диаметром 25 мм, измеряется на один стык.
9Подготовка выпусков арматуры к сварке: Работа для стержней диаметром 28 мм, измеряется на один стык.
10Сварка выпусков арматуры: Работа для стержней диаметром 28 мм, измеряется на один стык.
11Заключительные работы после сварки: Работа для стержней диаметром 28 мм, измеряется на один стык.
1.1Единица измерения: Столбец, указывающий единицу измерения для каждой работы (например, 'стык').
1.2Объем работ: Столбец, указывающий количество работы на единицу (например, '1 узел (3 стыка)').
1.3Трудоемкость, чел.-ч: Столбец, детализирующий расчетное рабочее время, необходимое для выполнения задачи.
1.4Принятый состав звена: Столбец со списком необходимых рабочих и их разрядов (например, Газорезчик 3 разряда, Арматурщик 2 разряда).
1.5Продолжительность процесса, ч: Столбец, показывающий расчетное время для завершения конкретного процесса.
1.6Рабочее время: Раздел временной шкалы, показывающий график выполнения работ с шагом времени (0,2; 0,4; 0,6 и т.д. до 2,8 часов).
2.1Единица измерения для подготовки (20 мм): 'стык'.
3.1Единица измерения для сварки (20 мм): 'То же' (стык).
4.2Единица измерения для заключительных работ (20 мм): 'То же' (стык).
5.1Единица измерения для подготовки (25 мм): 'стык'.
7.2Единица измерения для сварки (25 мм): 'То же' (стык).
8.3Единица измерения для заключительных работ (25 мм): 'То же' (стык).
9.1Единица измерения для подготовки (28 мм): 'стык'.
10.11Единица измерения для заключительных работ (28 мм): 'То же' (стык).
8.1Объем работ для заключительных операций (25 мм): 'То же' (1 узел (3 стыка)).
9.2Объем работ для заключительных операций (28 мм): 'То же' (1 узел (3 стыка)).
Рис. 1 — График трудозатрат и рабочего времени на подготовку, сварку и заключительные операции выпусков арматуры (диаметры 32, 36 и 40 мм)
Рис. 9 — График трудозатрат и рабочего времени на подготовку, сварку и заключительные операции выпусков арматуры (диаметры 32, 36 и 40 мм)
1Подготовка выпусков арматуры к сварке (Диаметр 32 мм) — Ед. изм.: 1 стык, Объем: 1 узел (3 стыка), Трудоемкость: 0,432 чел.-ч, Персонал: Газорезчик (3 разряд), Арматурщик (2 разряд), Продолжительность: 0,432 ч.
2Сварка выпусков арматуры (Диаметр 32 мм) — Ед. изм.: 1 стык, Объем: 1 узел (3 стыка), Трудоемкость: 0,498 чел.-ч, Персонал: Электросварщик на автоматических и полуавтоматических машинах (5 разряд), Продолжительность: 0,498 ч.
3Заключительные работы после сварки (Диаметр 32 мм) — Ед. изм.: 1 стык, Объем: 1 узел (3 стыка), Трудоемкость: 0,429 чел.-ч, Персонал: Газорезчик (3 разряд), Арматурщик (2 разряд), Продолжительность: 0,429 ч.
4Подготовка выпусков арматуры к сварке (Диаметр 36 мм) — Ед. изм.: 1 стык, Объем: 1 узел (3 стыка), Трудоемкость: 0,453 чел.-ч, Персонал: Газорезчик (3 разряд), Арматурщик (2 разряд), Продолжительность: 0,453 ч.
5Сварка выпусков арматуры (Диаметр 36 мм) — Ед. изм.: 1 стык, Объем: 1 узел (3 стыка), Трудоемкость: 0,522 чел.-ч, Персонал: Электросварщик на автоматических и полуавтоматических машинах (5 разряд), Продолжительность: 0,522 ч.
6Заключительные работы после сварки (Диаметр 36 мм) — Ед. изм.: 1 стык, Объем: 1 узел (3 стыка), Трудоемкость: 0,453 чел.-ч, Персонал: Газорезчик (3 разряд), Арматурщик (2 разряд), Продолжительность: 0,453 ч.
7Подготовка выпусков арматуры к сварке (Диаметр 40 мм) — Ед. изм.: 1 стык, Объем: 1 узел (3 стыка), Трудоемкость: 0,471 чел.-ч, Персонал: Газорезчик (3 разряд), Арматурщик (2 разряд), Продолжительность: 0,471 ч.
8Сварка выпусков арматуры (Диаметр 40 мм) — Ед. изм.: 1 стык, Объем: 1 узел (3 стыка), Трудоемкость: 0,546 чел.-ч, Персонал: Электросварщик на автоматических и полуавтоматических машинах (5 разряд), Продолжительность: 0,546 ч.
9Заключительные работы после сварки (Диаметр 40 мм) — Ед. изм.: 1 стык, Объем: 1 узел (3 стыка), Трудоемкость: 0,471 чел.-ч, Персонал: Газорезчик (3 разряд), Арматурщик (2 разряд), Продолжительность: 0,471 ч.
Рис. 1 — График производства работ и потребность в трудовых ресурсах для сварки горизонтальных выпусков арматуры
Рис. 10 — График производства работ и потребность в трудовых ресурсах для сварки горизонтальных выпусков арматуры
1Группа работ для горизонтальных выпусков арматуры диаметром 25 мм, детализирующая этапы подготовки, сварки и заключительных операций.
2Группа работ для горизонтальных выпусков арматуры диаметром 20 мм, детализирующая этапы подготовки, сварки и заключительных операций.
3Группа работ для горизонтальных выпусков арматуры диаметром 32 мм, детализирующая этапы подготовки, сварки и заключительных операций.
Рис. 1 — График производства работ и диаграмма трудозатрат процессов сварки арматурных стержней.
Рис. 11 — График производства работ и диаграмма трудозатрат процессов сварки арматурных стержней.
1Наименование процесса — Общее описание выполняемых работ.
2Единица измерения — Указывает единицу, в которой измеряется объем работ.
3Объем работ — Общий объем работ, подлежащий выполнению в рамках конкретной задачи.
4Трудоемкость, чел.-ч — Расчетное количество труда, необходимое для выполнения задачи, измеряемое в человеко-часах.
5Состав звена — Детализирует роли и уровни квалификации рабочих, необходимых для выполнения задачи.
6Продолжительность, ч — Расчетное время, необходимое для завершения задачи.
7Рабочее время (0,2) — Маркер шкалы времени.
8Рабочее время (0,4) — Маркер шкалы времени.
9Рабочее время (0,6) — Маркер шкалы времени.
10Рабочее время (0,8) — Маркер шкалы времени.
11Рабочее время (1,0) — Маркер шкалы времени.
12Рабочее время (1,2) — Маркер шкалы времени.
13Рабочее время (1,4) — Маркер шкалы времени.
14Рабочее время (1,6) — Маркер шкалы времени.
15Рабочее время (1,8) — Маркер шкалы времени.
16Рабочее время (2,0) — Маркер шкалы времени.
17Рабочее время (2,2) — Маркер шкалы времени.
18Рабочее время (2,4) — Маркер шкалы времени.
19Рабочее время (2,6) — Маркер шкалы времени.
20Рабочее время (2,8) — Маркер шкалы времени.
21Полоса диаграммы Ганта — Визуальное представление продолжительности задачи и графика.
22Полоса диаграммы Ганта — Визуальное представление продолжительности задачи и графика.
23Полоса диаграммы Ганта — Визуальное представление продолжительности задачи и графика.
Рис. 1 — График трудозатрат и продолжительности процесса сварки выпусков арматуры (диаметры 22 мм, 25 мм и 28 мм)
Рис. 12 — График трудозатрат и продолжительности процесса сварки выпусков арматуры (диаметры 22 мм, 25 мм и 28 мм)
1Описание процесса: «Подготовка выпусков арматуры к сварке» — начальный этап для стержней диаметром 22 мм.
2Описание процесса: «Сварка выпусков арматуры» — основная задача сварки для стержней диаметром 22 мм.
3Описание процесса: «Заключительные работы после сварки» — финишная обработка после сварки для стержней диаметром 22 мм.
4Описание процесса: «Подготовка выпусков арматуры к сварке» — начальный этап для стержней диаметром 25 мм.
5Описание процесса: «Сварка выпусков арматуры» — основная задача сварки для стержней диаметром 25 мм.
6Описание процесса: «Заключительные работы после сварки» — финишная обработка после сварки для стержней диаметром 25 мм.
7Описание процесса: «Подготовка выпусков арматуры к сварке» — начальный этап для стержней диаметром 28 мм.
8Описание процесса: «Сварка выпусков арматуры» — основная задача сварки для стержней диаметром 28 мм.
9Описание процесса: «Заключительные работы после сварки» — финишная обработка после сварки для стержней диаметром 28 мм.
Рис. 1 — График производства работ и распределения ресурсов при сварке выпусков арматуры различных диаметров
Рис. 13 — График производства работ и распределения ресурсов при сварке выпусков арматуры различных диаметров
1Процесс подготовки выпусков арматуры к сварке, включая резку и зачистку
2Процесс непосредственной сварки выпусков арматуры с использованием полуавтоматических или автоматических машин
3Заключительные работы после сварки, которые могут включать контроль и очистку
4Подготовительные работы для арматурных стержней диаметром 36 мм перед сваркой
5Сварочные работы для арматурных стержней диаметром 36 мм с использованием специализированного сварочного оборудования
6Заключительные операции после сварки для арматурных стержней диаметром 36 мм
7Подготовительные работы для арматурных стержней диаметром 40 мм для подготовки к процессу сварки
8Сварка арматурных стержней диаметром 40 мм, обычно требующая более высокой мощности или продолжительности
9Заключительные работы после сварки арматурных стержней диаметром 40 мм для обеспечения целостности соединения
10Временная шкала с указанием продолжительности процессов в часах, начиная с 0,2 до 2,8 часов
11Интервалы временной шкалы, специально отмечающие 0,4 и 0,6 часа
12Интервалы временной шкалы, отмечающие 0,8 и 1,0 часа
13Интервалы временной шкалы, отмечающие 1,2 и 1,4 часа
14Интервалы временной шкалы, отмечающие 1,6 и 1,8 часа
15Интервалы временной шкалы, отмечающие 2,0 и 2,2 часа
16Интервалы временной шкалы, отмечающие 2,4 и 2,6 часа
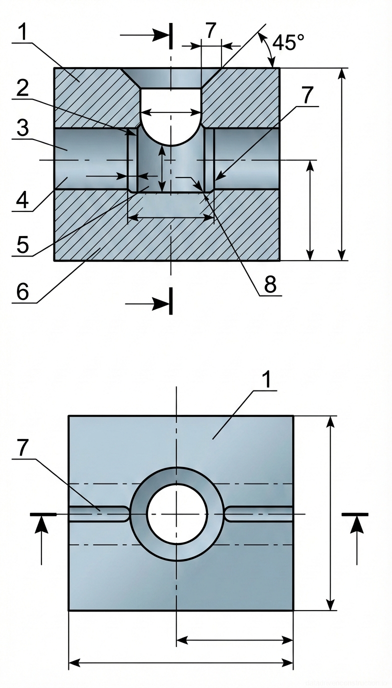
Рис. 1 — Поперечный разрез и вид в плане металлического Т-образного распределительного блока, показывающие внутренние каналы и геометрию пересечения.
Рис. 14 — Поперечный разрез и вид в плане металлического Т-образного распределительного блока, показывающие внутренние каналы и геометрию пересечения.
1Основной металлический корпус, прямоугольный блок, служащий несущей оболочкой для внутренних проточных каналов.
2Внутреннее вертикальное отверстие, верхняя часть с полусферическим профилем дна, предназначенная для определенных динамических характеристик потока жидкости или подсоединения фитинга.
3Горизонтальное сквозное отверстие или канал, пересекающийся с вертикальным каналом для распределения или объединения потока.
4Нижняя часть вертикального канала, имеющая меньший диаметр по сравнению с верхней, продолжающая вертикальный канал.
5Внутренняя посадочная поверхность или буртик в месте перехода вертикального канала, потенциально предназначенная для уплотнения или опирания компонента.
6Нижняя металлическая базовая часть основного блока корпуса.
7Входная кромка с фаской 45 градусов на верхней поверхности, облегчающая ввод соединительных труб или фитингов.
8Кромка пересечения, где встречаются вертикальный и горизонтальный каналы, критически важная для перехода потока и регулирования давления.
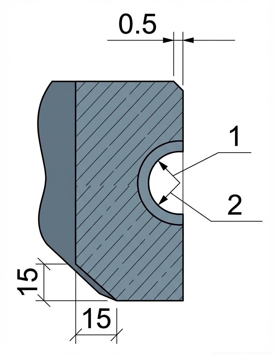
Рис. 1 — Деталь поперечного сечения структурного элемента с желобком и скошенной кромкой
Рис. 15 — Деталь поперечного сечения структурного элемента с желобком и скошенной кромкой
1Внутренний радиус полукруглого паза, обозначенный как 'r' в исходной спецификации, определяющий внутреннюю границу канала.
2Наружный радиус полукруглого паза, обозначенный как 'r+2' в исходной спецификации, указывающий на постоянное смещение или толщину в 2 единицы от внутреннего радиуса.
Рис. 1 — Профиль поперечного сечения шпоночной протяжки с указанием основных размеров и геометрии режущей кромки
Рис. 16 — Профиль поперечного сечения шпоночной протяжки с указанием основных размеров и геометрии режущей кромки
1Скошенная кромка (фаска), обеспечивающая заход режущего инструмента или облегчающая введение в заготовку
2Наклонная боковая стенка профиля резания, способствующая образованию заднего угла инструмента и формирующая верхний размер ширины '1,25b'
3Основной центральный режущий канал или профиль шпоночного паза, определяемый его шириной 'b' и конкретными параметрами глубины 'D' и 'D+2'
4Базовая точка для габаритного размера ширины, совпадающая с внешней вертикальной кромкой корпуса инструмента, обозначенная как 'B'
Рис. 1 — Поперечный разрез стандартной металлической формы с центральной U-образной полостью для отливки образцов
Рис. 17 — Поперечный разрез стандартной металлической формы с центральной U-образной полостью для отливки образцов
4Фаска или скос верхней поверхности, обозначающий наклонную кромку у отверстия полости формы для облегчения распалубки и предотвращения скалывания краев
5Сплошной корпус формы, обычно изготавливаемый из механически обработанной стали или чугуна, показан диагональной штриховкой для обозначения сплошного металлического сечения
6Общая верхняя ширина блока формы, соответствующая размеру 'l' на исходной схеме
7Размер половины ширины верхнего блока формы, соответствующий 'l/2', указывающий расстояние от края до центральной оси
8Горизонтальный размер фаски верхней кромки, обычно 5 мм, как указано на исходной схеме
9Вертикальный размер (глубина) фаски верхней кромки, обычно 5 мм, как указано на исходной схеме
10Радиус нижней кривой U-образной полости, обозначенный как 'D1' на исходной схеме, определяющий полукруглый профиль
11Размер половины ширины основания нижнего блока формы, соответствующий 'A/2', измеренный от края до вертикальной осевой линии
12Общая нижняя ширина основания блока формы, соответствующая размеру 'A' на исходной схеме
Рис. 1 — Вид спереди и в плане разъемного механического зажимного блока с детализацией внутренних размеров расточки
Рис. 18 — Вид спереди и в плане разъемного механического зажимного блока с детализацией внутренних размеров расточки
1Основной корпус механического зажимного блока, показанный на виде спереди, иллюстрирующий общую высоту и внешний профиль.
2Радиус внутренней галтели в расточке, обеспечивающий плавный переход для снижения концентрации напряжений, обозначенный размером 'R'.
5Общая ширина корпуса зажимного блока, обозначенная размером 'A' на исходной схеме.
6Ширина верхнего конического отверстия или зенковки, заданная размером 'K'.
7Диаметр верхней цилиндрической части расточки, обозначенный как 'd+3' на исходной схеме.
8Глубина верхней цилиндрической части расточки до конического перехода, обозначенная 'h'.
9Общая высота зажимного блока, обозначенная размером 'H'.
10Радиус галтели в нижней части основной расточки, обеспечивающий конструктивную целостность при ступенчатом переходе.
11Диаметр нижней, более узкой цилиндрической части расточки, обозначенный 'd' на исходной схеме.
12Линия сечения А-А, указывающая секущую плоскость для вида спереди, показанного выше.
13Фаска на внешнем углу блока, уменьшающая острые края и, возможно, служащая для зазора.
14Заштрихованная область, указывающая на сплошной материал блока на виде в разрезе А-А.
15Линия разъема или зазор между двумя половинами зажимного блока, позволяющая затянуть его вокруг вала или фитинга.
16Еще один скошенный угол, симметричный элементу 13, определяющий внешнюю геометрию.
17Ширина плоского участка, прилегающего к фаске, обозначенная размером 'b'.
18Внутренний диаметр основной цилиндрической расточки на виде в плане.
19Ширина центрального разреза или зазора, обозначенная как '0,5' на исходной схеме.
20Расстояние от осевой линии до внешнего края блока, равное половине общей глубины, обозначенное 'b'.
21Горизонтальный размер участка с фаской, обозначенный как 'a' на исходной схеме.
22Расстояние от края блока до осевой линии расточки, обозначенное 'b'.
23Расстояние от осевой линии расточки до начала зазора разъема, обозначенное 'K'.
24Длина зазора разъема от расточки до внешнего края.
Советы и рекомендации
!
Категорически запрещается возбуждать сварочную дугу путем касания проволокой элементов медной или графитовой инвентарной формы. Это приводит к загрязнению сварного шва примесями и локальному разрушению формующей оснастки.
!
Запрещена обрезка арматурных выпусков электрической дугой. Использование электродуговой резки изменяет структуру металла и ведет к образованию хрупких закалочных структур на торцах арматуры. Используйте только кислородную или плазменную резку.
i
Для предотвращения образования глубокой усадочной раковины (кратера) в конце процесса сварки, делайте 2-3 коротких перерыва по 3-4 секунды, располагая проволоку перпендикулярно и смещая ее от центра к краям ванны.
i
При выполнении работ в условиях низких температур обязательно укрывайте готовый стык термостойкой (асбестовой или кремнеземной) тканью сразу после снятия формы. Резкое охлаждение шва на морозе провоцирует появление холодных трещин.
i
Не подвергайте порошковую проволоку повторной термической обработке (прокалке). Это разрушает газообразующие и шлакообразующие компоненты сердечника, что приведет к массовой пористости шва.